Распечатать

ЗИП для BNPP 72-3,2/100-SS304-1200

В наличии
Производитель
Страна

Китай

Код товара

35674

Цена с НДС

Звоните

Заказать
Насосы поршневые пневматические серии BNPP предназначены для перекачивания различных химически активных жидкостей из бочек (глубина погружения 1000 мм) и еврокубов (глубина погружения 1200 мм), с содержанием частиц (размер частиц смотрите в таблице технических характеристик).
Примером перекачиваемых жидкостей могут служить:
- пищевые жидкости: масла, патока, мед, сметана, йогурт, сузьма и т.п.
- технический жидкости: ГСМ, промышленные масла, полиолы, изоционаты, смолы, клеи, лаки, краски и т.п. жидкости.
Максимальная вязкость перекачиваемой жидкости – 120 000 мПа*с.
Проточная часть изготовлена из нержавеющей стали AISI304.
Прокладки и уплотнение вала – PTFE.
Следует помнить, что при перекачке вязких жидкостей может сильно уменьшиться подача и напор насоса.

ВНИМАНИЕ! При выборе насоса ОБЯЗАТЕЛЬНО проконсультируйтесь с нашими специалистами!

Расшифровка обозначения:

BNPP 55-3,0/100-SS304-1000
«BNPP» – бочковой насос поршневой пневматический,
«55» - диаметр погружной части в мм (диаметр 55 мм подходит для большинства бочек с несъемной крышкой).
Для еврокубов или бочек со съемной крышкой можно использовать насос с диаметром 72 мм.
«3,0» - подача насоса по воде с м3/час,
«100» - максимальный напор насоса в метрах водяного столба,
«SS304» - материал проточной части насоса нержавеющая сталь AISI304,
«1000» - длина погружной части в миллиметрах.


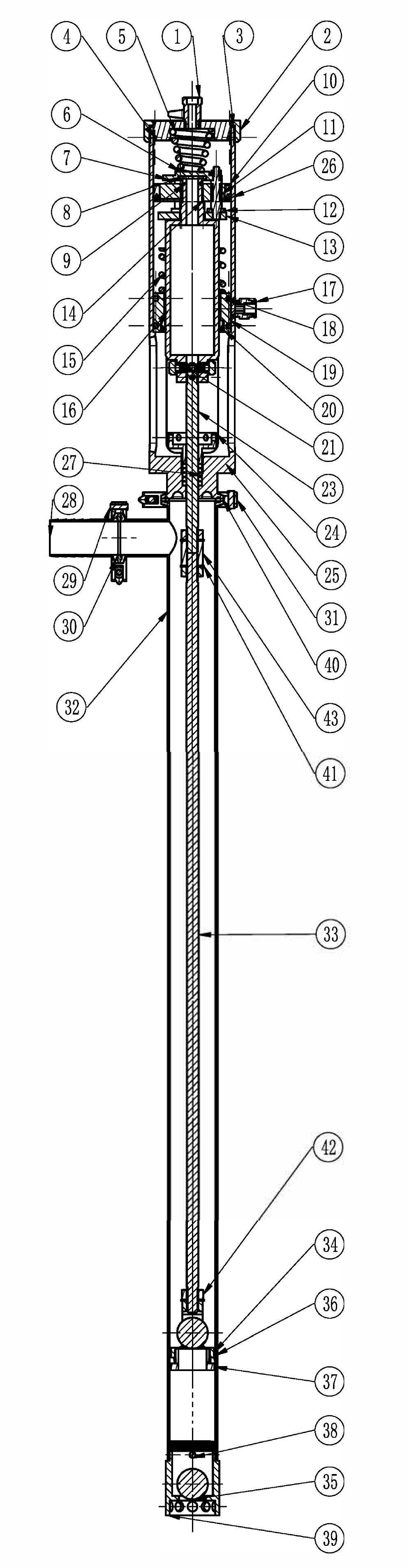
Дополнение к описанию: Комплект запчастей для BNPP 72-3,2/100-SS304-1200:
- прокладка из резины (поз. 12) - 3 шт,
- прокладка клампа из резины (поз. 30) - 1 шт,
- штуцер из стали - 1 шт,
- уплотнение корпуса поршня из резины (поз. 20) - 1 шт ,
- уплотнение поршня из PU (поз. 26) - 3 шт ,
- уплотнение штока поршня из PTFE (поз. 27) - 8 шт,
- прокладка верхнего клапана из PTFE (поз.36) - 1 шт,
- фитинг подачи воздуха из пластика (поз. 17) - 1 шт,
- прокладка крышки из силикона (поз. 8) - 1 шт,
- вентиль из латуни (поз. 1) - 1 шт,
- пружина из стали (поз. 5) - 1 шт,
- хомут (поз. 29) - 1 шт,
- отвертка - 1 шт.